智能电话销售机器人是目前电销行业比较常用的辅助工具,智能电话销售机器人每天可以拨打成千上万通电话,替代人工完成重复,繁琐单调的筛选客户的过程,不管是个人,还是企业都是可以使用

13523580522 官网:http://www.jiadankeji.com
大家都会有个疑问:智能电话销售机器人好用吗,有你们说的效果那么好吗
首先大家要知道相比人工外呼拨打电话,营销售机器人有什么优势
1.机器人拨打更稳定
搭建好平台,上传语音话术,导入电话,智能电话销售机器人就可以自动拨打电话,不受客户拒接,态度不好,甚至言语辱骂带来的情绪影响,每天可以拨打3000通电话,可以7*24小时不间断工作,这是人工外呼拨打电话远远达不到的

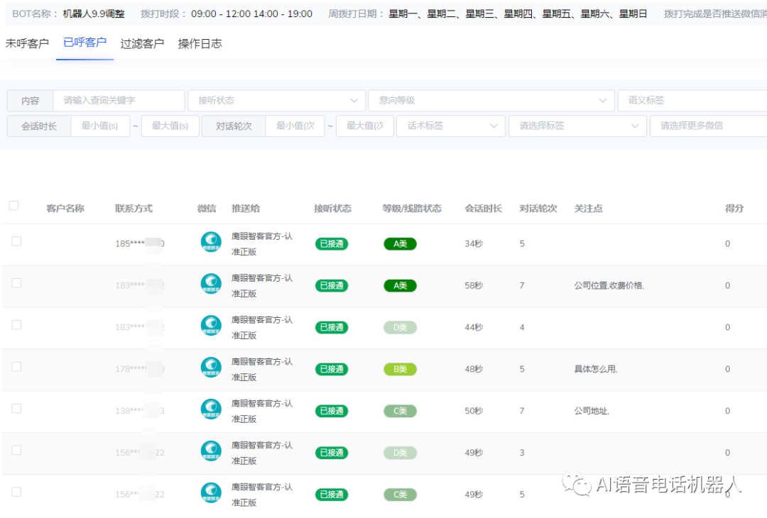
2.营销机器人可以自动分类客户
系统平台设置影响客户标签,机器人会按照设置的话术和客户沟通交流,根据客户的情况,自动分类为A/B/C/D类客户,筛选出来的客户直接推送到你的微信上,做好二次跟进就可以了,不会漏掉任何一个客户

3.机器人可以如实记录每通通话记录
系统后台点击所拨打的电话号码,可以随时查看通话记录,支持语音转文字,可以更好的分析客户
对比上面的优势,大家可以看出来,智能电话销售机器人优势更多,人工外呼拨打电话都能找到客户,更不要说每天拨打量更多的机器人了